
6.3G雷达CR-LD605适应存储容器或过程计量环境,液体、浆料、固体比如:轻油储罐,原煤、粉煤仓位,挥发性液体储罐,焦碳料位,浆料储罐,固体颗粒
输入
天线接收反射的微波脉冲并将其传输给电子线路,微处理器对此信号进行处理,识别出
微脉冲在物料表面所产生的回波。正确的回波信号识别由软件完成。
距离物料表面的距离D与脉冲的时间行程T成正比: D=C×T/2 (其中C为光速)
因空罐的距离E已知, 则物位L为: L=E-D
输出
通过输入空罐高度E(=零点),满罐高度F(=满量程)及一些应用参数来设定,应用参
数将自动使仪表适应测量环境。对应于4…20mA输出。
主要参数:
应 用:适应多种存储容器或过程计量环境,液体、浆料、固体。
测量范围:30米
过程连接:法兰
过程温度:-20-220℃
过程压力:-1.0-40bar
重 复 性 :± 3mm
精 度:< 0.1%
频率范围:6.3GHz
防爆等级:Exd II BT4
防护等级:IP68
信号输出:4…20mA/HART(两线)
6.3G雷达CR-LD605喇叭雷达详细介绍
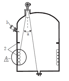
● 建议距离(1)罐体内壁至安装短管的外壁应大于罐直径的1/6;● 离罐壁小距离为300mm;● 不能安装在入料口的上方(4)。● 不能安装在中心位置(3),如果安装在中间,会产生多重虚假回波,干扰回波会导致信号丢失。● 如果不能保持仪表与罐壁的距离,罐壁上的介质会黏附造成虚假回波,在调试仪表的时候应该进行虚假回波存储。 3.2 罐内安装
● 在 信号波束内, 应避免有如下安装物(1):例如限位开关,温度传感器等。● 对称装置(2),如真空环,加热线圈,挡板等等。● 如果罐内有(1)(2)干涉物件,应采用导波管进行测量。 3.3安装选择● 天线尺寸:天线越大,波束角越小,干扰回波将越弱。● 天线调整:将天线调整到测量位置。(见样本第8页)● 导波管:导波管安装用来避免干扰回波。(见样本第9页)